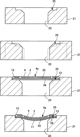
Egami descubrió una nueva patente de Sony que describe una tecnología de sensores curvos. Tener un sensor de curvado, permite un aumento en el rendimiento del objetivo y reduce el tamaño del mismo. Egami especula que esto puede ser ideal para la futura full frame NEX-9. El caso es que de ser así, los objetivos de montura A o E para sensores corrientes, no funcionarían en este nuevo tipo de sensor lo que hace poco probable que se incorpore a la NEX-9, ya que los que ya tuvieran una NEX no podrían aprovechar ningún objetivo.
Sony patenta una nueva tecnología de sensores curvos
Posted: 29/09/2012 by Agusti Pardo in Rumores, Sensor, Sony0
You must be logged in to post a comment.


